蘋果專利曝光 圓形表盤Apple Watch來襲

2018-05-10 09:17:08 來源:手機中國 人氣: 次閱讀 367 條評論

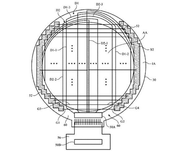
5月9日消息,美國專利商標局(USPTO)剛剛授予了蘋果一項專利,該專利的特殊之處在于它在這塊圓形屏幕上用了行列長短不同的像素來提升屏幕的利用率,這意味著蘋果已經準備好了圓形...

5月9日消息,美國專利商標局(USPTO)剛剛授予了蘋果一項專利,該專利的特殊之處在于它在這塊圓形屏幕上用了行列長短不同的像素來提升屏幕的利用率,這意味著蘋果已經準備好了圓形表盤的AppleWatch。這個專利早在2016年1月就提交到了美國專利商標局,而當時離Apple Watch發布還有8個月。

Apple Watch專利圖

Apple Watch專利圖

Apple Watch專利圖與網傳渲染圖

Apple Watch專利圖與網傳渲染圖

這個專利可以通過減少像素數量,利用不規則的像素行和列,來提高Apple Watch的顯示效果。至于Apple Watch的形狀是方形好還是圓形好,一定會引起比較大的爭論。從我們的認知來看,手表產品似乎都是圓形的,方形的手表一般作為時裝表售賣,不是很主流,圓形手表我們更易接受。

網傳Apple Watch渲染圖

網傳Apple Watch渲染圖

網傳Apple Watch渲染圖

網傳Apple Watch渲染圖

其實,在以往的Apple Watch產品中,圓形的設計元素非常多。Apple Watch 3雖然是方臉的,但無論是Watch OS的桌面、圖標還是運動中心等內容,都是以圓形的設計元素為主。網友們已經準備好了各種圓形表盤的Apple Watch渲染圖了,簡直能夠以假亂真,顏值真的不錯。