微軟新專利曝光 Lumia或將配備第二屏幕
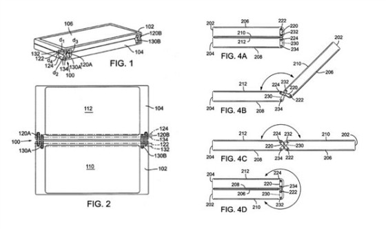
微軟的一項新專利是用于手機和超級本的鉸鏈設計機制,具體來說,它幾乎完美地解決了手機無法張開180度的缺陷,關鍵是還能保持美感,不犧牲電池、厚度等參數。...
鉸鏈的設計在筆記本中沿用已久,去年聯想的Yoga3 Pro上市時,813顆小零件組成的表鏈式轉動結構讓人重溫了這種機械之美。
微軟的一項新專利是用于手機和超級本的鉸鏈設計機制,具體來說,它幾乎完美地解決了手機無法張開180度的缺陷,關鍵是還能保持美感,不犧牲電池、厚度等參數。

雖然微軟一直都是專利巨擘,但不清楚這次是為制約競爭對手還是真的會在設備上采用。不過,Lumia營銷部門副總裁Tuula的一席話倒是很振奮:“未來的消費者肯定不會滿足于5寸設備,搭載另一款應用或虛擬鍵盤的第二屏幕將非???。”
說不定Lumia研發團隊真的就在這樣干呢。

分享到:
投訴收藏

